Добрый день.
Нужна помощь уважаемых меломанов.
Есть DSP Yamaha DDP-10, который на вход принимает цифровой сигнал в формате AC-3 Dolby Digital и на выходе 6 RCA соответственно.
При подаче цифрового сигнала стерео PCM пишет, чNO DOLBY DIGITAL INPUT.
Если войти в сервисное меню и выбрать тип источника PCM, то есть на выбор 4 варианта типа выхода
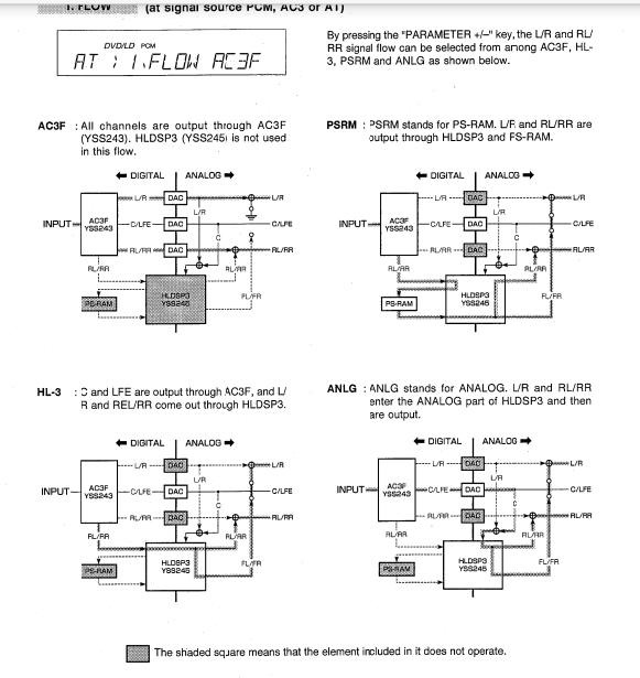
PCM -> Flow -> AC3F
PCM -> Flow -> HL-3
PCM -> Flow -> PSRM
PCM -> Flow -> ANLG
В соответствии с приложенной схемой из мануала.
Помогите понять, какой тип выхода выбирать, чтобы обычный PCM стерео input выводился минуя обработку напрямую.
Не понимаю, что значат HL-3, PSRM. Догадываюсь, что ANLG как раз такой тип выхода, но почему-то глухо и тихо звучит.
Спасибо

19.08.2020 в 16:42, broken_author сказал:
Добрый день.
Нужна помощь уважаемых меломанов.
Есть DSP Yamaha DDP-10, который на вход принимает цифровой сигнал в формате AC-3 Dolby Digital и на выходе 6 RCA соответственно.
При подаче цифрового сигнала стерео PCM пишет, чNO DOLBY DIGITAL INPUT.
Если войти в сервисное меню и выбрать тип источника PCM, то есть на выбор 4 варианта типа выхода
PCM -> Flow -> AC3F
PCM -> Flow -> HL-3
PCM -> Flow -> PSRM
PCM -> Flow -> ANLG
В соответствии с приложенной схемой из мануала.
Помогите понять, какой тип выхода выбирать, чтобы обычный PCM стерео input выводился минуя обработку напрямую.
Не понимаю, что значат HL-3, PSRM. Догадываюсь, что ANLG как раз такой тип выхода, но почему-то глухо и тихо звучит.
Спасибо
Первый вариант AC3F это и есть напрямую без дополнительной обработки просессором DSP. все остальные варианты с DSP обработкой.
Попасть в сервисное меню можно с помощью кнопки DIGITAL, для этого удерживайте ее на выключенном устройстве и включите его, сразуже после включения нажмите на кнопку DIGITAL два раза и вы войдете в сервисный режим в котором можно слушать музыку в режиме PCM для этого нажмите Home Theatre и у вас появится надпись PCM теперь устройство будет без доп. обработки транслировать сигнал в режиме AC3F